|  |
 | Журнал ТЗ № 1 2026 |  |
|
Раздел: Инсталляция
Тема:
Автор: Кирилл АГАФОНОВ, АО «ЦеСИС»
| Молниеотводы на наблюдательной вышке | |  У проектировщиков всегда
остро стоит вопрос обеспечения
электробезопасности
металлических
конструкций в регионах с
труднообрабатываемыми
почвами, с высоким удельным
сопротивлением, такими, как:
вечная мерзлота, песок, скальный
грунт и болота. Особенно это
актуально для территории России
с ее богатым контрастом
природно-климатических зон.
В частности, к таким конструкциям
относятся бронированные вышки,
которые необходимо обеспечить
надежными устройствами
заземления
и молниезащиты.
В условиях климата с вечномерзлыми грунтами
существуют сезонные изменения сопротивления
почвы. С приходом зимы происходит более глубокое
промерзание почвы (до 10 метров), поэтому удельное
сопротивление грунта увеличивается. Кроме того, при
затвердевании земли становится труднее произвести
монтаж контура заземления.
При проектировании вышек на болотистой местности
или почве с высоким содержанием воды основной
проблемой является химический состав жидкости, который в большинстве случаев имеет примеси агрессивных веществ, разрушающих
структуру металла.
Чтобы решить подобного рода задачи, был разработан отечественный
модульный заземлитель для производственных, жилых, телекоммуникационных, энергетических и промышленных объектов. Антикоррозионные свойства цинкового покрытия модульного заземления
помогут избежать вредных воздействий агрессивной водной среды.
Данный заземлитель представляет собой сборную конструкцию,
состоящую из соединенных вместе стальных штырей длиной по 1,5
метра, покрытых цинком (рис. 1).
|  Рис. 1. Модульно-штыревой заземлитель
Модульно-штыревая конструкция обладает рядом преимуществ:
- Легкость установки электрода на глубину до 30 метров без применения специализированной техники и инструментов. Все операции
осуществляет 1 человек. Большая глубина позволяет получить очень
эффективное заземление.
- Минимальная площадь, занимаемая заземлителем, позволяет монтировать такое заземление вблизи фундамента вышки. Компактность
сводит к минимуму необходимые земляные работы.
- Все детали сопрягаются без сварки.
- Великолепная стойкость всех деталей к коррозии, что отражается
на сроке службы заземлителя.
- Полная устойчивость цинкового покрытия штырей к механическим
повреждениям (например, к изгибу и отслоению) при монтаже, что
позволяет вести монтаж в грунтах с присутствием гравия или мелкого
строительного мусора (за счет использования цинкового покрытия
на сталь).
Конструкция заземлителя состоит из максимально
простых частей: стержней заземления длиной 1,5 м,
резьбовых муфт, соединяющих стержни между собой,
и наконечников узлов крепления для горизонтального
заземлителя.
Для обеспечения нормируемого сопротивления заземляющих устройств применяется электролитическое заземление, специально предназначенное для
использования в вечномерзлых и каменистых грунтах.
Существующие варианты вкапывания электродов в
скальный грунт очень трудозатратны и малоэффективны. Бурение скважины глубиной от 8 до 100 метров с дальнейшей установкой в нее стальной шины
и засыпкой глинисто-песчаной смесью с хлоридом
натрия требует наличия на строительной площадке
специальной бурильной техники, что многократно
увеличивает стоимость монтажа. Возникает также
проблема наличия значительной погрешности при
замере сопротивления глубинных электродов. Это
происходит в основном из-за разнородности грунта по
составу и структуре. Таким образом, заказчик, уверенный в достижении требуемого сопротивления грунта,
в результате оказывается далек от истины.
Для обеспечения требующегося значения сопротивления можно воспользоваться новым технологическим
решением – электролитическим заземлением (рис. 2).
|  Рис. 2. Устройство электролитического заземления
Для установки конструкции электролитического
заземлителя необходимо наличие 0,8–1,0 метра
мелкого грунта поверх скального монолита. Такое
заземление представляет собой трубу из нержавеющей стали с перфорацией, внутри которой находится
смесь специальных солей. Соль впитывает влагу из
окружающего грунта и, выщелачиваясь, выходит в
этот грунт в виде электропроводящего электролита.
Таким образом, грунт многократно уменьшает свое
удельное сопротивление, позволяя получить сопротивление заземления электрода (той самой трубы
из нержавеющей стали) в 10 раз меньше обычного
горизонтального электрода таких размеров в обычном
(не улучшенном) грунте.
Достоинства электролитического заземления:
- электрод электролитического заземления обеспечивает сопротивление заземления до 12 раз меньше, чем обычный стальной электрод
таких же размеров;
- срок службы электрода составляет не менее 50 лет;
- малая глубина монтажа электролитического заземления (0,7 м)
делает этот заземлитель очень универсальным.
Наполнитель электрода это специальная смесь минеральных солей
с запатентованной добавкой, которая:
- не вызывает ускорения коррозии электрода;
- не превращается в электролит сразу всем объемом при повышенной
влажности грунта (актуально в весенний/осенний период);
- делает процесс выщелачивания равномерным и постоянным.
Это способствует не просто сохранению концентрации электролита в
грунте, а ее увеличению со временем, что позволяет дополнительно
уменьшить сопротивление заземления.
Единственный недостаток – это более высокая стоимость по срав-
нению с традиционными заземлителями, но она компенсируется
долговечностью, надежностью и уменьшением трудозатрат и средств
при монтаже данного устройства.
Наряду с устройствами прямого уменьшения сопротивления грунта,
существуют и вспомогательные способы. К ним относятся добавление
в почву минеральных солей и установка электродов в насыпной
грунт. Соль, впитывая грунтовую влагу, превращается в электролит,
тем самым улучшается электропроводность грунта и понижается
температура замерзания.
Плюсы и минусы данного решения:
а) этот метод позволяет снизить сопротивление растеканию тока
заземлителя в 2,5–8 раз;
б) срок службы таких электродов уменьшается, так как выполнение
контура заземления производится из стали, а соль вызывает очень
сильную коррозию материала электрода;
в) за три-четыре года снижается срок эффективной работоспособности электрода (до 40 процентов); со временем уменьшается концентрация электролита в грунте из-за вымывания солей весенним
таянием и после дождей в летний период.
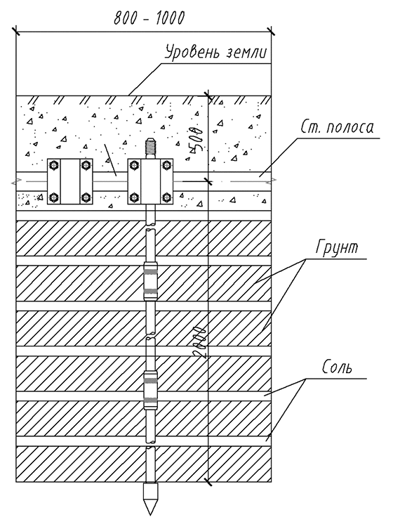
Примерная конструкция котлована при обработке грунта солью
показана на рис. 3.
|  Рис. 3. Конструкция котлована при обработке грунта солью с модульным заземлением |  Рис. 4. Устройство
заземлителя в котловане
с насыпным грунтом
При установке электродов в насыпной грунт можно добиться
значения сопротивления, соответствующего расчетному, которое
меньше высокоомных почв в несколько раз. Данный метод позволяет снизить сопротивление растеканию тока заземлителя в 5–10
раз, но при этом необходимы взрывные работы или привлечение
тяжелой техники.
Дополнительно, но не менее важно для надежной работы всей
системы электробезопасности, наличие молниезащиты, которая
защищает персонал и электроустановки от пагубных воздействий
внешней среды – молниевых разрядов.
Молниезащита предназначена для отведения высоковольтных
электрических разрядов от охраняемых объектов (рис. 5).
|  Рис. 5. Молниезащита и заземление
наблюдательной вышки
При попадании молнии в молниеприемник ток идет по пути
наименьшего сопротивления и через токоотводы стекает в заземлитель, закопанный в грунт. Так как рассеивание электрического
разряда в почве напрямую зависит от сопротивления заземлителя,
новационное модульное и электролитическое заземление сделает
более эффективной и надежной молниезащиту.
Перспективы внедрения технологии
модульного и электролитического
заземления заключаются в
обеспечении надежной электрической
безопасности в труднодоступных
климатических районах: в северных
широтах, в регионах с горной
породой и заболоченных местностях.
Положительный эффект заключается
в облегчении осваивания и создания
инфраструктуры ранее недоступных
территорий, а также в экономической
эффективности и уменьшении
трудозатрат при монтаже заземляющих
конструкций.
| Внимание! Копирование материалов, размещенных на данном сайте допускается только со ссылкой на ресурс http://www.tzmagazine.ru
Рады сообщить нашим читателям, что теперь нашем сайте работает модуль обратной связи. Нам важна ваша оценка наших публикаций! Также вы можете задавать свои вопросы.Наши авторы обязательно ответят на них. Ждем ваших оценок, вопросов и комментариев! |
Добавить комментарий или задать вопрос
Правила комментирования статей
Версия для печати
Средняя оценка этой статьи: 0 (голосов: 0) Ваша оценка:
| | |
|  |
|
|
| Реклама |
|
|
| Подписка на новости | |
|
|
 |